CASE STUDY
The Useless Machine
Product Design |Physical Computing | Digital Fabrication
00 PROBLEM OVERVIEW
Mesmerizingly Useless
A light that doesn't stay lit but still captures your attention. The useless machine aims to force a user to interact with it, randomly responding with different light colours.
Product Goals
Create a simple product that inspires interaction regardless of functional use. Use minimalist design, in combination with coloured light, to alter the overall look of the invention.

01 BENCHMARK STUDIES
Light, Sound, and Motors
Components
A series of red-green-blue (RGB) LEDs were used to create variation in colouring.
Materials
A simplistic material palate was maintained using balsa wood, opaque plexiglass, and white thread.
Inspiration
Form studies on speakers and 3D tessellations were investigated to create geometric forms that were open and light feeling.
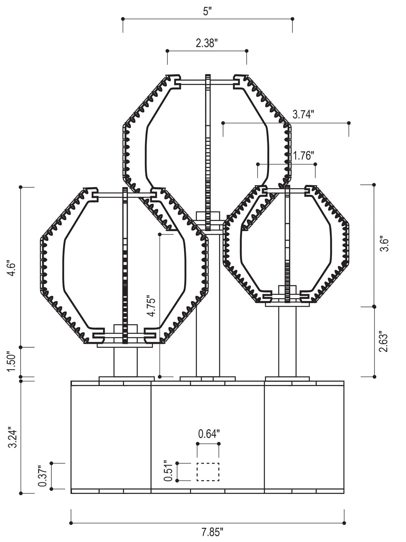
02 TECHNICAL DRAWINGS
Model Drawings
Solidworks Models
Models were created using Solidworks parts and assembly modes. Drawings were then created for the final assembly, with dimensions added for the re-creation of the project in the future.
Materials
Files were exported into Adobe Illustrator and prepped for laser cutting on a Trotec 400. All items for the base were cut from opaque white plexiglass, while the balls were cut with plywood.







03 PHYSICAL COMPUTING
Simple Circuits
Arduino Circuits
A small circuit was created with Arduino, which connects three RGB LEDs and a button. When pressed, the button generates three random colours.
04 FORM CONSTRUCTION
Purposely Tangled
Weaving Patterns
The three balls were created using different patterns to generate various patterns when the light is turned on.
Experimentation of tan, white, and black strings was used to test the highest range of colour variations when lit.
05 FINAL PRODUCT